MVN Series Precision Vertical Travel Stages provide precise manual height control with micron-scale sensitivity. Their high load capacity makes them especially suited to vertical positioning of heavy payloads.
- Precision wedge design gives 2X better sensitivity
- Up to 90 lb load capacity
- Spring-loaded for negligible backlash See All Features
| Compare | Description | Drawings, CAD & Specs | Avail. | Price | ||
|---|---|---|---|---|---|---|
![]() | M-MVN120 MVN Ball Bearing Vertical Translation StagesVertical Linear Stage, Precision Ball Bearing, 20 mm Travel, M5 & M6 Threads | |||||
![]() | M-MVN50 MVN Ball Bearing Vertical Translation StagesVertical Linear Stage, Precision Ball Bearing, 8 mm Travel, M3 & M6 Threads | |||||
![]() | M-MVN80 MVN Ball Bearing Vertical Translation StagesVertical Linear Stage, Precision Ball Bearing, 12.5 mm Travel, M4 & M6 Threads | |||||
![]() | MVN120 MVN Ball Bearing Vertical Translation StagesVertical Linear Stage, Precision Ball Bearing, 0.79 in. Travel, 10-24 & 1/4-20 Threads | |||||
![]() | MVN50 MVN Ball Bearing Vertical Translation StagesVertical Linear Stage, Precision Ball Bearing, 0.31 in. Travel, 4-40 & 1/4-20 Threads | |||||
![]() | MVN80 MVN Ball Bearing Vertical Translation StagesVertical Linear Stage, Precision Ball Bearing, 0.5 in. Travel, 8-32 & 1/4-20 Threads |
Specifications
[calculators:text.product.notes]
M- versions feature the same specifications as the imperial versions shown. Please see order table for mounting threads.<br>Minimum and Maximum Heights include the thickness of a compatible M-PBN base plate. See drawing for details.
Features
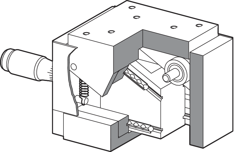
Inclined for 2x Precision and Backlash Free Travel
The stage utilizes an inclined plane design consisting of two precision-machined, opposing wedge blocks. Horizontal translation of the lower wedge is transformed into vertical motion of the upper wedge by means of inclined ball races. This unique design enables a 2:1 mechanical advantage such that travel on the micrometer corresponds to half that value of the stage's vertical travel, improving the sensitivity by two times. For linear, backlash-free travel, ball races are fabricated from precision-ground tool steel and are pre-loaded by a spring.
Convenient Mounting
The MVN stages have large mounting platforms that incorporate an array of tapped English or metric mounting holes for the convenient attachment of components. To mount the stage to an optical table or breadboard, compatible PBN Series Base Plates are offered.
UMR Linear Stage Compatibility
The MVN stages are compatible with UMR Series Linear Stages allowing you to build XZ or XYZ stage stacks with a horizontal oriented mounting platform. An MVN50 verical stage is shown on top of UMR5.25 linear stage.
Easily Combined for Multi-axis Motion
The MVN Precision Vertical Stages are compatible with UMR Steel Linear Stages, UTR Steel Rotation Stages, and TGN Series Tilt Platforms of matching size (for example, MVN80 with UMR8.25 and UTR80, or MVN120 with UTR 120 and TGN120). They can be combined to provide multi-axis motion and can be easily adapted to fit a specific system's needs. In the picture, a six-axis manual positioning system is shown using two UMR8.25s, two TGN80s, a UTR80S, and a MVN80. (Hint: first assemble Y & Z stages from the backside of Y stage, and then connect X stage to YZ from backside of X. In both steps, the carriage of UMR stage needs to be translated to each end of the travel range to reveal access holes, please refer to UMR stage XY assembly video.)













