These X26 optical mounts are specifically designed for use with X26 optical rails and rail carriers. They are great for quick set-ups of optical systems.
- Specifically designed for use with X26 Rails and Carriers
- Ideal for creating rail-based multi-element optical systems
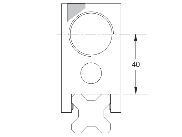
- 40 mm common optical axis height above rail
- Kinematic mirror mounts with ±1° tip/tilt
- Objective lens mounts and cylindrical laser mounts
- Lens mount barrels are stackable See All Features
Features
SB Series Lens Barrel Holders
CB Series Lens Barrel Holders
B Series Lens Mount Barrel
The B Series Lens Mount Barrel can be used to create optical systems by mounting it to X26 Rails and Carriers via SB or CB Series Lens Barrel Holders. The lens barrels consist of a threaded body for mounting into the holders, and a retaining ring for mounting the optic. When screwed together, the lens is securely held in place. For thick lenses, the retaining ring is reversible. Two or more lens barrels can be threaded end-to-end to construct simple optical systems.
SJ Series Mirror Mounts
CT Series Cylindrical Laser Mounts
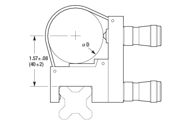
CT26 cylindrical mounts are used to accurately position cylindrical lasers on the X26 rail system. Two mounts are recommended for each tube to enable 0.16 in. (4 mm) of stable XY and tip/tilt adjustment. These mounts are very useful for laboratory applications and remain highly rigid and stable for a long period of time. The laser is held firmly against a reference block by a spring that wraps around the tube. The beam height is 40 mm, common with the X26 rail system. Lateral sensitivity is on the order of the BM actuator sensitivity.





























